Skip to main content

请选择您的国家/地区及语言偏好

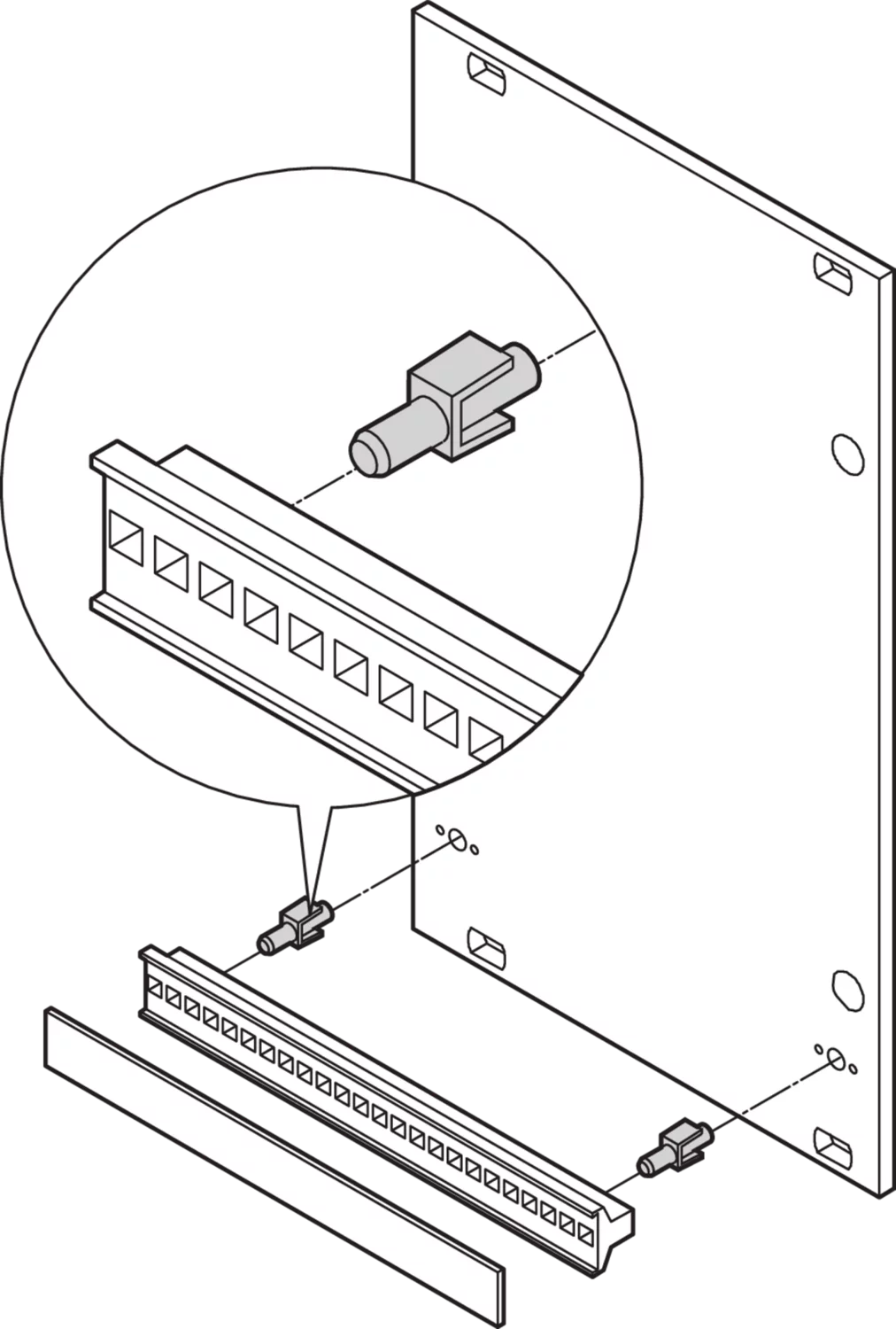
静态塑料把手固定件

目录编号: 21101-239

固定夹有助于将塑料梯形把手装配到前面板上。

阅读更多 阅读更少
  • RoHS
打印本页
详情

功能

技术参数


产品属性

已复制数据

资源 CAD

CAD 生成

*数据如有更改,恕不另行通知
您所在地区的经销商

以下是目前有库存的授权经销商列表:

分销商 数量 库存日期

*所示价格为每件价格,不含增值税。是否含包装费和运费取决于当地情况。如果这些费用应为总价的一部分,报价中将包含包装费和运费。给定的价格为非约束性建议零售价 (RRP),即 nVent 标价。当地经销商的最终销售价格可能会有所不同。在 SCHROFF.nVent.com 上请求或生成的报价仅对商业客户 (B2B) 有效。上面显示的交货时间是从 nVent SCHROFF 工厂发货该项目的估计值。运输时间不包括在此估计中,因为运输时间可能会有所不同,具体取决于送货地址、包裹尺寸和其他因素。对于配置的产品,在非推荐区域(“检测到的碰撞区域”)进行的开孔和修改可能会产生额外的工程和/或设计成本,这可能会增加最初的报价。

警告
应仅根据 nVent 的产品说明书与培训材料安装并使用 nVent 的产品。可访问 www.nvent.com 获取说明书,或者向您的 nVent 客服代表索取。错误安装、使用不当、滥用或未能完全遵守 nVent 的说明与警告,可能会造成产品故障、财产损失、严重的人身伤害及死亡和/或使得保修服务无效。