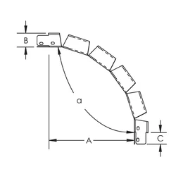
Elevador variable Uniklip
Pase el ratón para ampliar la imagen o haga clic para agrandarla
Elevador variable Uniklip
Detalles
Recursos
Vídeo
Características
- Crea de forma rápida y fácil una transición vertical para bandeja de cable
- Proporciona un soporte óptimo para cables de datos y bajo voltaje de alto desempeño
- Innovador sistema de conexión UNIKLIP que se instala hasta tres veces más rápido
- Cumple con la capacidad de carga y la puesta a tierra IEC 61537
- No se requieren cortes ni modificaciones durante la instalación; simplemente colóquelo y siga instalando la bandeja de cable
- Elimina los problemas relacionadas con la seguridad en torno al corte en obra
- Uniones integradas sin herramientas con Uniklip
Especificaciones
| Acabado | Pregalvanizado |
| Material | Acero |
Folleto
Certificaciones
CE, CADDY CABLE TRAY
Spanish
EN 61537, LVD 2014/35/EU


- Advertencia
- Los productos nVent deben instalarse y usarse solo como se indica en las hojas de instrucciones y materiales de capacitación del producto nVent. Instruction sheets are available at www.nvent.com and from your nVent customer service representative. La instalación incorrecta, el mal uso, la aplicación incorrecta u otras fallas en el seguimiento completo de las instrucciones y advertencias de nVent pueden causar el mal funcionamiento del producto, daños a la propiedad, lesiones corporales graves y la muerte y/o anular la garantía.