Skip to main content
Sélectionnez vos préférences de pays/langue

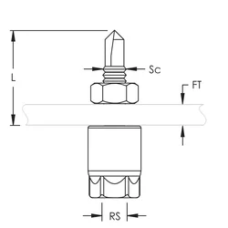
PH34414.jpg image Survoler pour zoomer ou cliquer pour agrandir

Vis de montage verticale pour acier avec écrou de verrouillage HangerMate®

Besoin d'une assistance technique ou d'un devis ? Nous sommes à votre service.
Nous contacter Nos sites de ventes
Avertissement
Les produits nVent doivent être installés et utilisés uniquement comme indiqué dans les feuilles d'instructions et les documents de formation de nVent. Les feuilles d'instructions sont disponibles sur www.nvent.com et auprès de votre représentant du service client nVent. Une installation incorrecte, une mauvaise utilisation, une mauvaise application ou tout autre défaut de respect total des instructions et des avertissements de nVent peut entraîner une défaillance du produit, des dommages matériels, des blessures corporelles graves et la mort et/ou annuler votre garantie.
Besoin d'une assistance technique ou d'un devis ? Nous sommes à votre service.
Nous contacter Nos sites de ventes