HCBC Hochstrom Sammelschienen Klemme
Zum Vergrößern über das Bild fahren oder klicken
HCBC Hochstrom Sammelschienen Klemme
Details
Anwendungsbilder
Ressourcen
CAD
Merkmale
- Verbindet zwei Cu-Sammelschienen miteinander oder nVent ERIFLEX Flexibar mit einem flexiblen Stromband
- Aus nichtmagnetischen Werkstoffen für Hochstromverbindungen zwischen nVent ERIFLEX Flexibar und starren Stromschienen wie z.B. Transformatorenklemmen
- Starre Konstruktion sichert gleichmäßigen Anpressdruck
- Schnell und leicht zu installieren
- Ideal für Modifikationen vor Ort
- RoHS-konform
Spezifikationen
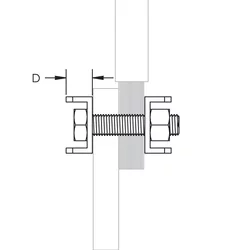
| Klemmfähigkeit | 1.57" |
| Klemmfähigkeit | 40mm |
| Material | Edelstahl 304 (EN 1.4301) |
Installationshandbuch/Kurzanleitung
Katalog
Technisches Handbuch
- Warnung
- nVent-Produkte müssen in Übereinstimmung mit den Produktinformationsblättern und dem Schulungsmaterial von nVent installiert und verwendet werden. Informationsblätter sind verfügbar unter www.nVent.com sowie bei Ihrem nVent-Kundendienstvertreter. Unsachgemäße Installation, Missbrauch, Fehlanwendung oder andere Handlungen im Widerspruch zu den Anweisungen und Warnungen von nVent können zu Fehlfunktionen, Anlagenschäden, schwerer Körperverletzung sowie zum Tod führen und/oder haben die Annullierung der Garantie zur Folge.