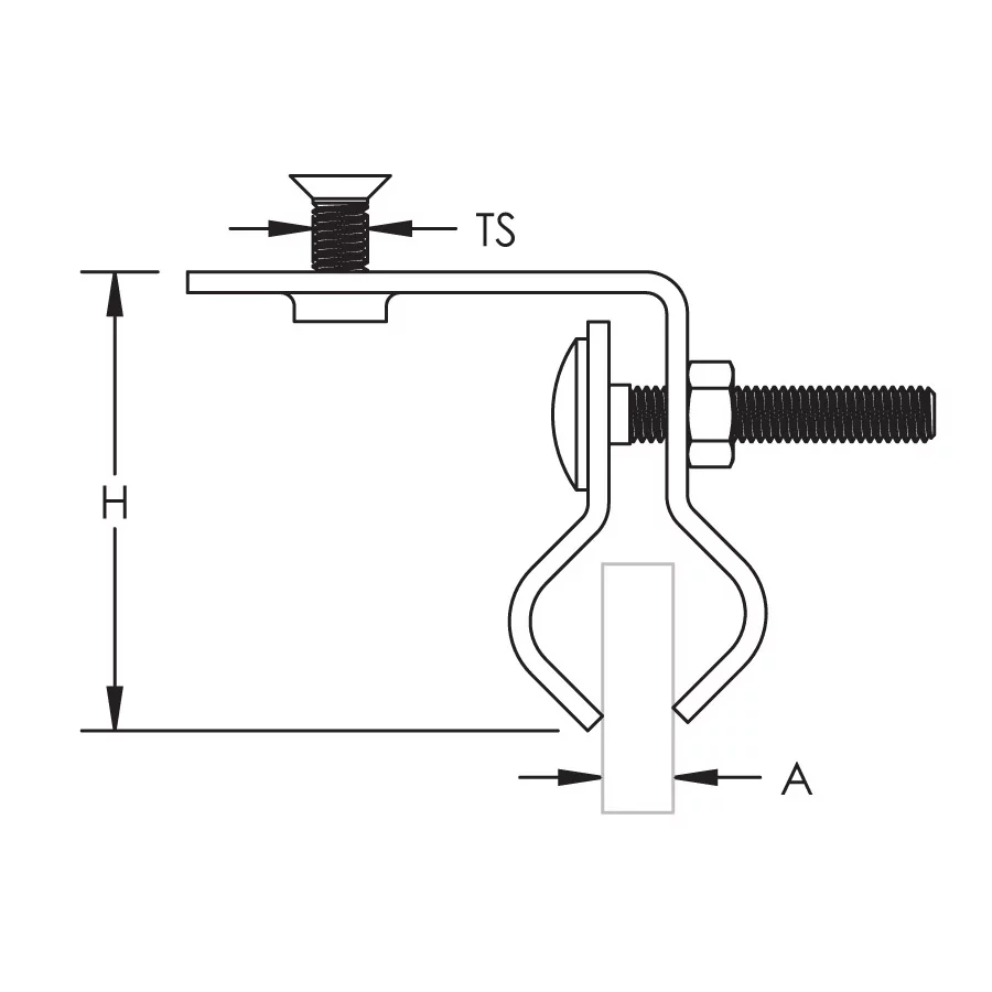
Stamped Standing Seam Clamp
Hover to magnify image or click to enlarge
Stamped Standing Seam Clamp
Details
Application images
Resources
Features
- Clamps to rectangular, rounded or boxed ridge seams
- For use with one hole cable straps to secure conductors
Specifications
Brochure
Certifications
E202878-Combined_CoC OVTK.E202878
English
ANSI/UL 96
E202878-Combined_CoC OVTK7.E202878
English
ANSI/CAN/UL 96
- Warning
- nVent products shall be installed and used only as indicated in nVent's product instruction sheets and training materials. Instruction sheets are available at www.nvent.com and from your nVent customer service representative. Improper installation, misuse, misapplication or other failure to completely follow nVent's instructions and warnings may cause product malfunction, property damage, serious bodily injury and death and/or void your warranty.