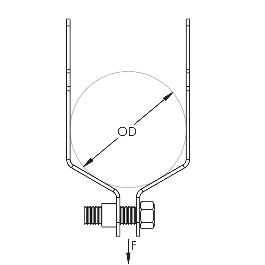
SK Single Piece Strut Clamp for Conduit
Hover to magnify image or click to enlarge
SK Single Piece Strut Clamp for Conduit
Details
Application images
Resources
Features
- One piece break apart strut clamp for EMT and Rigid conduit
- Includes thread impression and captured screw
Specifications
| Finish | Electrogalvanized |
| Material | Steel |
Certifications
cUL DWMU7.E165703
CAN/CSA C22.2 No. 18.4-04
UL DWMU.E165703
ANSI/UL 2239
- Warning
- nVent products shall be installed and used only as indicated in nVent's product instruction sheets and training materials. Instruction sheets are available at www.nvent.com and from your nVent customer service representative. Improper installation, misuse, misapplication or other failure to completely follow nVent's instructions and warnings may cause product malfunction, property damage, serious bodily injury and death and/or void your warranty.