Rail Bootleg Bond Kit, Tab Style


Rail Bootleg Bond Kit, Tab Style
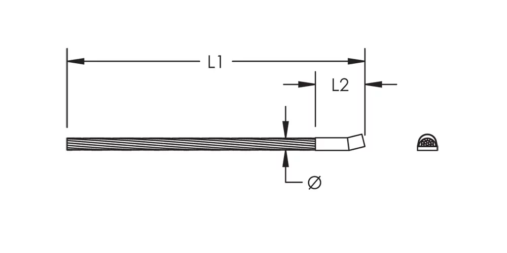
The nVent ERICO Cadweld bootleg bonds are intended to be welded to the web of the rail at the rail profile neutral axis level. To ensure connection integrity, the attachment shall be made using nVent ERICO Cadweld welding material.
Details
Application images
Resources
Video
Features
- Offers broken rail protection and significant corrosion resistance
- Provides unchanging electrical resistance
- Two versions of Bond Terminal Styles available
- Easy installation, with minimum installer training required
- Simple and highly-portable installation equipment
- Equally usable on old, worn, or new rails
- Highly durable
Specifications
Material | Cadmium Bronze;Copper Alloy |
Bond Terminal Style | Tab |

- Warning
- nVent products shall be installed and used only as indicated in nVent's product instruction sheets and training materials. Instruction sheets are available at www.nvent.com and from your nVent customer service representative. Improper installation, misuse, misapplication or other failure to completely follow nVent's instructions and warnings may cause product malfunction, property damage, serious bodily injury and death and/or void your warranty.