360 Adjustable Center-Load Beam Clamp Kit
 Hover to magnify image or click to enlarge
        
        Hover to magnify image or click to enlarge
       
        360 Adjustable Center-Load Beam Clamp Kit
                                      Details
          
          
        
        
                        
              
        
  
  
      
  
        
                  
   
  
      
    
              
              
        
      
    
              
            
                    
      
          
          
  
  
        
  
    
            
        
        
      
    
    
      
      
    
    
  
  
      
      
    
              
            
        
      
  
    
  
      
    
              
            
        
      
    
              
  
        
                                                                          Resources
          
          
        
        
                        
            
        
  
    
               
 
          
  
      
    
  
        
                                                                                                                                                                  
Features
- Includes Series 26 Beam Clamp Extension Piece
Specifications
| Material | Steel;Cast Iron | 
| Finish | Plain | 
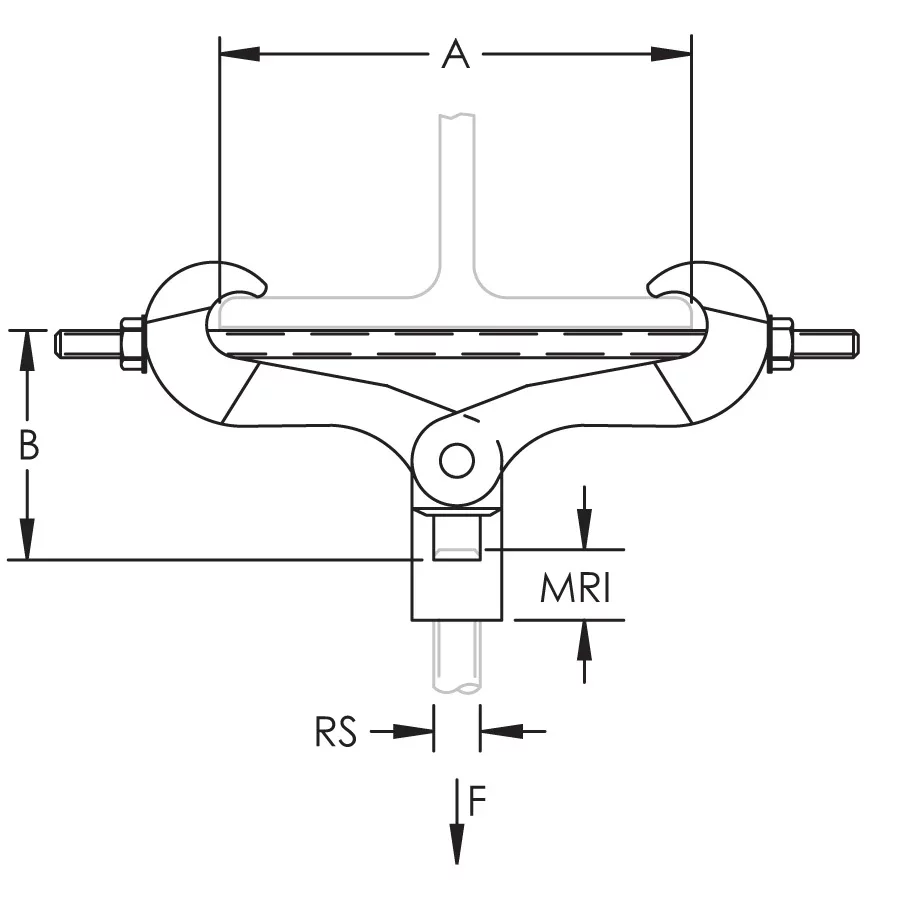
| Part Number | A-2" B | A-3" B | A-4" B | A-5" B | A-6" B | A-7" B | 
| 3600037PL | 5 5/16" | 5 1/16" | 4 15/16" | 4 11/16" | 5 1/8" | 3 9/16" | 
| 3600050PL | 5 5/16" | 5 1/16" | 4 15/16" | 4 11/16" | 5 1/8" | 3 9/16" | 
| 3600062PL | 5 1/2" | 5 1/4" | 5 1/8" | 4 7/8" | 5 5/16" | 3 3/4" | 
| 3600075PL | 5 1/2" | 5 1/4" | 5 1/8" | 4 7/8" | 5 5/16" | 3 3/4" | 
| 3600087PL | 5 3/4" | 5 1/2" | 5 3/8" | 5 1/8" | 5 9/16" | 4" | 
- Warning
- nVent products shall be installed and used only as indicated in nVent's product instruction sheets and training materials. Instruction sheets are available at www.nvent.com and from your nVent customer service representative. Improper installation, misuse, misapplication or other failure to completely follow nVent's instructions and warnings may cause product malfunction, property damage, serious bodily injury and death and/or void your warranty.
