

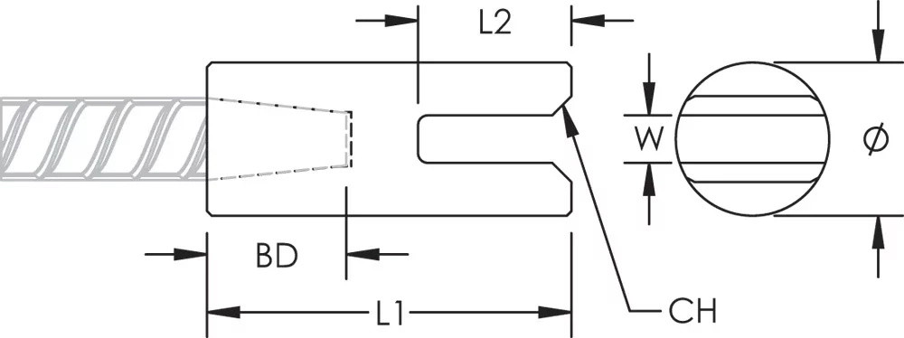
C3SL Weldable Clevis Coupler for Nuclear Applications
The nVent LENTON C3SL Weldable Clevis Coupler for Nuclear Applications is designed for quick and easy connections of reinforcing steel bar to structural steel sections and plates. The nuclear construction industry demands scrutiny throughout the entire product life-cycle and nVent LENTON is here to be your technical expert. All weldable couplers are assigned unique part numbers to ensure detailed product documentation—including full product traceability—is performed to individual customer requirements.
When it comes to nuclear construction, precision, reliability, and compliance are non-negotiable. That’s why leading contractors and engineers around the world turn to nVent LENTON—a global leader in mechanical rebar splicing systems engineered for the most demanding environments.
Features
- Designed for connecting reinforcing bar across the web of structural steel sections or plates
- Internally taper threaded on one end, with the other end prepared for welding
- Machined from weldable grades of steel
- Digital model available in nVent BIM Library
Specifications
Finish | Plain |
Material | Steel |
100% U.S. Domestic Content | Yes |
Designed to Meet | AASHTO;ABNT NBR 8548:1984;ACI 318 Type 1 (125% Specified Yield);ACI 318 Type 2 (Specified Tensile);ACI 349;ACI 359;AS3600 |
Installation Manual / Instruction Sheet
Technical Handbook
- Warning
- nVent products shall be installed and used only as indicated in nVent's product instruction sheets and training materials. Instruction sheets are available at www.nvent.com and from your nVent customer service representative. Improper installation, misuse, misapplication or other failure to completely follow nVent's instructions and warnings may cause product malfunction, property damage, serious bodily injury and death and/or void your warranty.