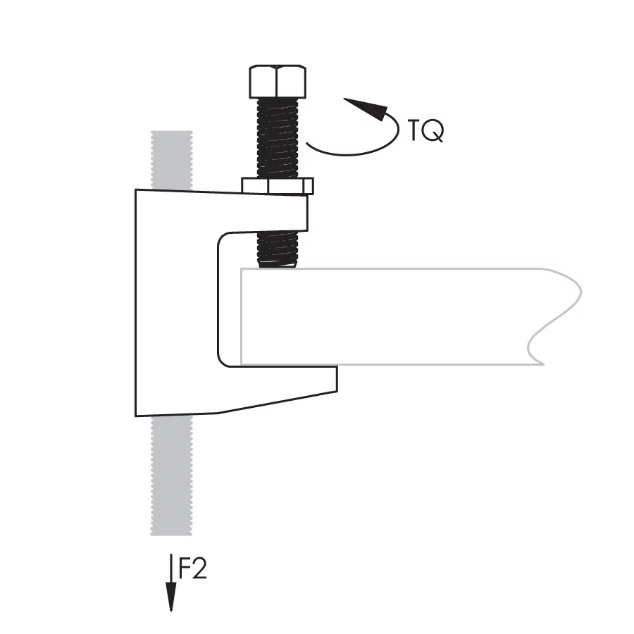
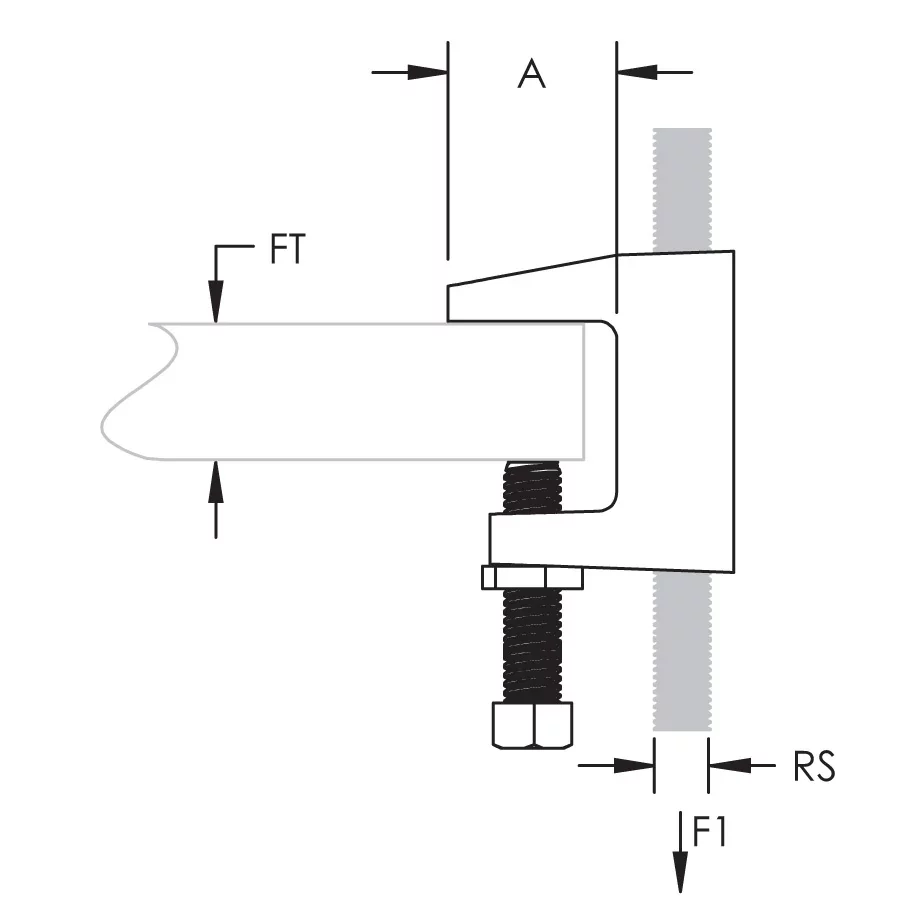
300 Universal Beam Clamp
Hover to magnify image or click to enlarge
300 Universal Beam Clamp
Details
Application images
Resources
CAD
Features
- Conforms with Federal Specification WW-H-171 (Type 23), Manufacturers Standardization Society (MSS) SP-58 (Type 19 and 23)
Specifications
| Material | Cast Iron |
| Finish | Electrogalvanized |
Installation Manual / Instruction Sheet
Certifications
cUL VFXT7.EX2452
English
ULC/ORD-C203
cUL VFXT7.EX2452
ULC/ORD-C203
FM Approved, Pipe Hanger Components
English
FM 1951, 1952, 1953 (December 2016)
UL VFXT.EX2452
English
ANSI/UL 203
UL VFXT.EX2452
ANSI/UL 203
- Warning
- nVent products shall be installed and used only as indicated in nVent's product instruction sheets and training materials. Instruction sheets are available at www.nvent.com and from your nVent customer service representative. Improper installation, misuse, misapplication or other failure to completely follow nVent's instructions and warnings may cause product malfunction, property damage, serious bodily injury and death and/or void your warranty.