Plug Bond, Power, Welded Lug
Hover to magnify image or click to enlarge
Plug Bond, Power, Welded Lug
Details
Resources
Video
Related Products
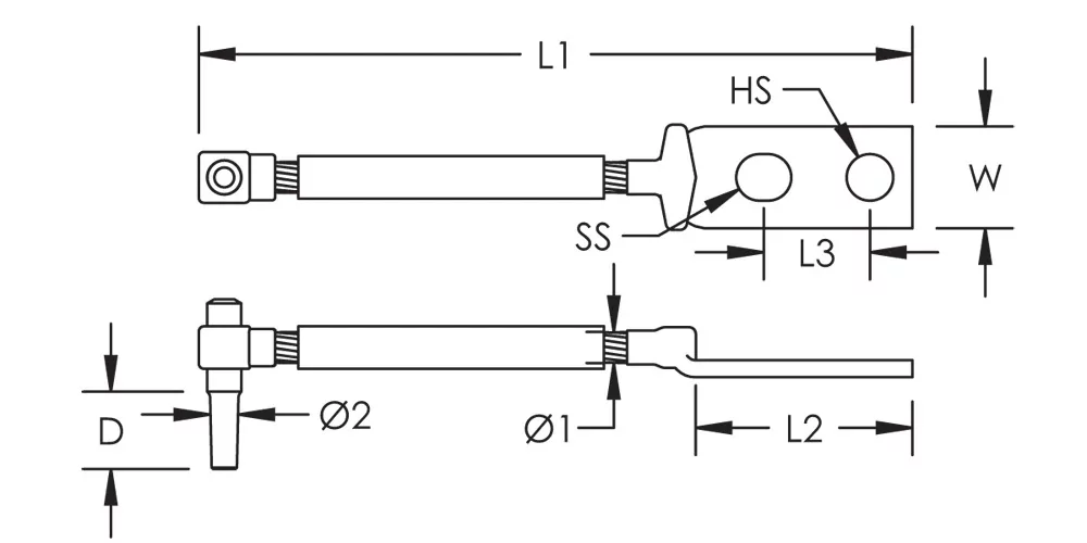
Features
- Designed for application to the rail web
- Hammered into a 3/8" (9.5 mm) diameter hole drilled through the rail web and driven from the same side the hole was drilled
Specifications
| Insulation Thickness | 0.1" |
| Insulation Thickness | 2.4 mm |
| Conductor Size | 14.5 mm Diameter |
| Material | Copper;Steel;Copper Alloy;Carbon Steel;Elexar Rubber Thermoplastic Elastomer |
| Finish | Electrogalvanized;Tinned;Pregalvanized |

- Warning
- nVent products shall be installed and used only as indicated in nVent's product instruction sheets and training materials. Instruction sheets are available at www.nvent.com and from your nVent customer service representative. Improper installation, misuse, misapplication or other failure to completely follow nVent's instructions and warnings may cause product malfunction, property damage, serious bodily injury and death and/or void your warranty.