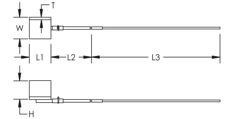
Aluminum Structure Grounding Stud, Side Angled Plate
 Hover to magnify image or click to enlarge
        
        Hover to magnify image or click to enlarge
       
        Aluminum Structure Grounding Stud, Side Angled Plate
                                      Details
          
          
        
        
                        
              
        
  
  
      
  
        
                  
   
  
      
    
              
              
        
      
    
              
            
                    
      
          
          
  
  
        
  
    
            
        
        
      
    
    
      
      
    
    
  
  
      
      
    
              
  
        
                                                                          Resources
          
          
        
        
                        
  
        
                                                                          Video
          
          
        
        
                        
            
        
  
  
                                                
            
       
  
          
                    
      
    
  
        
                                                                                                      
Features
- Bimetallic assembly of aluminum and copper
- For grounding new and existing aluminum structures: i.e., masts, signal bridges, cases and bungalows
- For connection (nVent ERICO Cadweld recommended) to ground rod or ground network/mesh
Specifications
| Material | Aluminum;Copper | 

- Warning
- nVent products shall be installed and used only as indicated in nVent's product instruction sheets and training materials. Instruction sheets are available at www.nvent.com and from your nVent customer service representative. Improper installation, misuse, misapplication or other failure to completely follow nVent's instructions and warnings may cause product malfunction, property damage, serious bodily injury and death and/or void your warranty.
