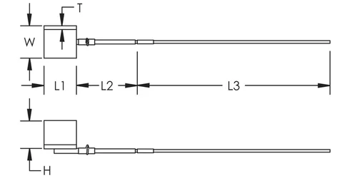
Aluminum Structure Grounding Stud, Side Angled Plate
Hover to magnify image or click to enlarge
Aluminum Structure Grounding Stud, Side Angled Plate
Details
Resources
Video
Features
- Bimetallic assembly of aluminum and copper
- For grounding new and existing aluminum structures: i.e., masts, signal bridges, cases and bungalows
- For connection (nVent ERICO Cadweld recommended) to ground rod or ground network/mesh
Specifications
| Material | Aluminum;Copper |
Brochure

- Warning
- nVent products shall be installed and used only as indicated in nVent's product instruction sheets and training materials. Instruction sheets are available at www.nvent.com and from your nVent customer service representative. Improper installation, misuse, misapplication or other failure to completely follow nVent's instructions and warnings may cause product malfunction, property damage, serious bodily injury and death and/or void your warranty.