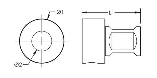
Extension Adaptor for SBHM Hollow Core Metal Tipped Rail Drill Bit
Hover to magnify image or click to enlarge
Extension Adaptor for SBHM Hollow Core Metal Tipped Rail Drill Bit
Details
Application images
Resources
Video
Features
- Used to extend the length of the SBHM Hollow Core Metal Tipped Rail Drill Bit when used for drilling holes in grooved rails
- 3/4" (19 mm) Weldon shank
- The length of the adaptor extends the drill bit by 1" (25.4 mm)
- Allows for coolant to flow through drill bit
- Requires Cooling Adaptor for SSB Double Cutting Twist Type Rail Drill Bit, ADAPZSP (715520)
Specifications
Brochure
Technical Handbook

- Warning
- nVent products shall be installed and used only as indicated in nVent's product instruction sheets and training materials. Instruction sheets are available at www.nvent.com and from your nVent customer service representative. Improper installation, misuse, misapplication or other failure to completely follow nVent's instructions and warnings may cause product malfunction, property damage, serious bodily injury and death and/or void your warranty.