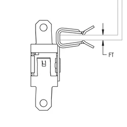
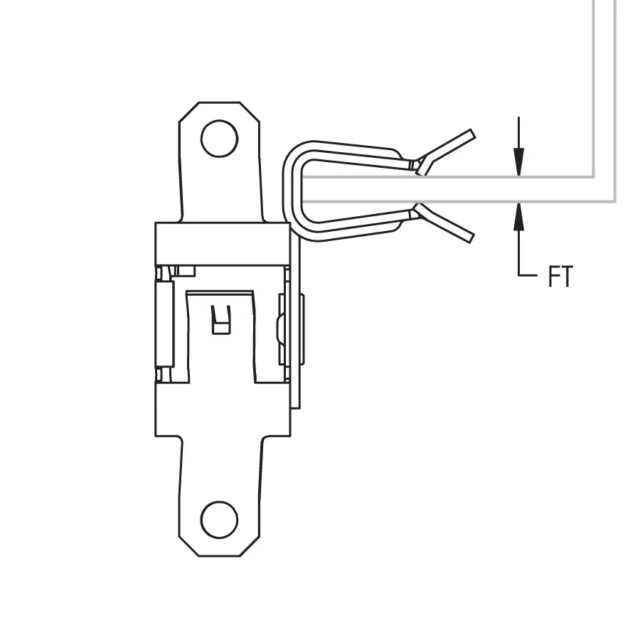
MC/AC Cable to Flange Clip, Side Mount
 Hover to magnify image or click to enlarge
        
        Hover to magnify image or click to enlarge
       
        MC/AC Cable to Flange Clip, Side Mount
                                      Details
          
          
        
        
                        
              
        
  
  
      
  
        
                  
   
  
      
    
              
              
        
      
    
              
            
                    
      
          
          
  
  
        
  
    
            
        
        
      
    
    
      
      
    
    
  
  
      
      
    
              
            
        
      
    
              
  
        
                                            Application images
          
          
        
        
                                            Resources
          
          
        
        
                        
            
        
  
    
               
  
    
                    
  
  
      
      
  
    
      
    
    
      
  
      
  
              
  
  
      
      
  
    
      
    
    
      
  
      
  
                
      
 
          
  
      
    
  
        
                                                                          Video
          
          
        
        
                        
            
        
  
  
                                                
            
       
  
          
                    
      
    
  
        
                                                                                                      
Features
- No tools required for installation
- Compliant with NEC® Article 300.4(d), allowing cable to be positioned a minimum of 1-1/4" from face of stud
- Compliant with CEC Rule 12-618 for support of MC/AC cable
Specifications
| Finish | nVent CADDY Armour | 
| Material | Spring Steel | 
Brochure
Installation Manual / Instruction Sheet
Certifications
        cUL DWMU7.E165703
      
      
      
          
      CAN/CSA C22.2 No. 18.4-04
    
      
        UL DWMU.E165703
      
      
      
          
      ANSI/UL 2239
    
      
- Warning
- nVent products shall be installed and used only as indicated in nVent's product instruction sheets and training materials. Instruction sheets are available at www.nvent.com and from your nVent customer service representative. Improper installation, misuse, misapplication or other failure to completely follow nVent's instructions and warnings may cause product malfunction, property damage, serious bodily injury and death and/or void your warranty.
 
                 
                 
             
             
            