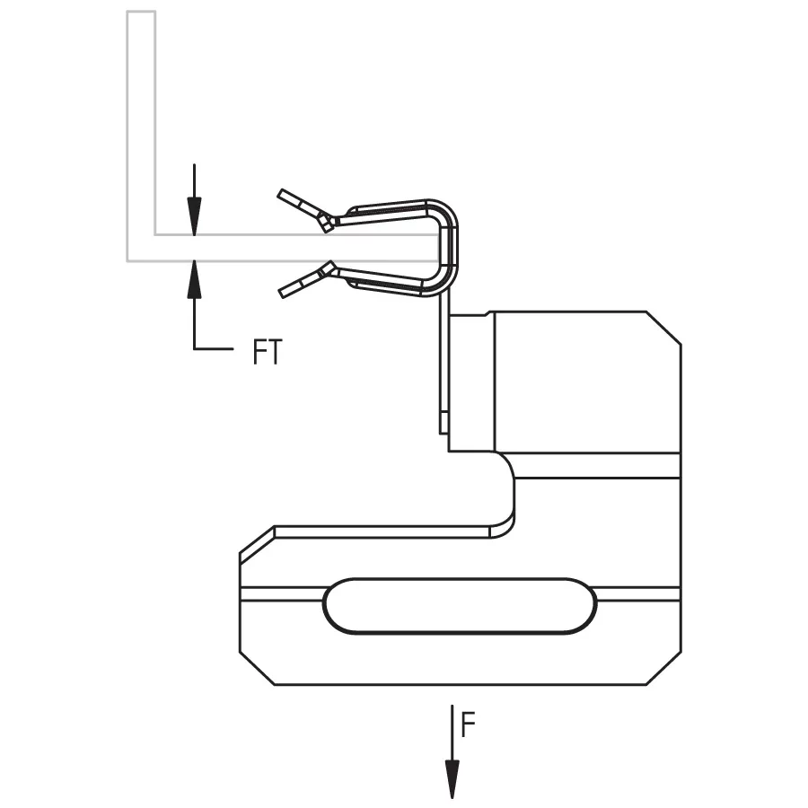
H-MSR 90° Strap Hanger with Flange Clip
Hover to magnify image or click to enlarge
H-MSR 90° Strap Hanger with Flange Clip
Details
Application images
Resources
Video
Features
- Supports pipe or duct from flange with banding or strapping
- Pre-measure length of strap, hammer clip on to flange, then trapeze pipe or duct
Specifications
| Finish | nVent CADDY Armour;Pregalvanized |
| Material | Steel;Spring Steel |
Brochure
Installation Manual / Instruction Sheet


- Warning
- nVent products shall be installed and used only as indicated in nVent's product instruction sheets and training materials. Instruction sheets are available at www.nvent.com and from your nVent customer service representative. Improper installation, misuse, misapplication or other failure to completely follow nVent's instructions and warnings may cause product malfunction, property damage, serious bodily injury and death and/or void your warranty.