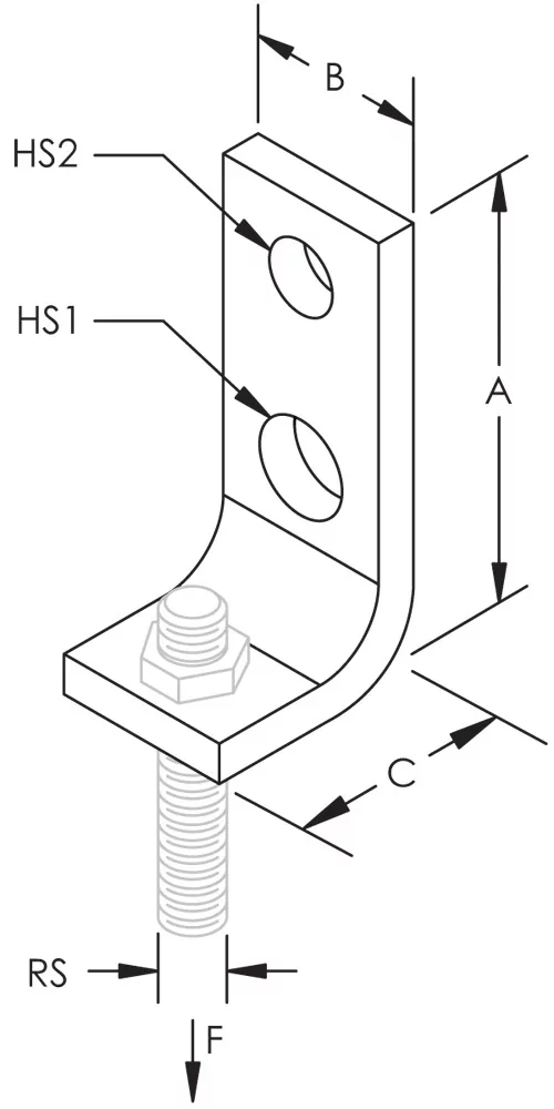
328 Threaded Steel Side Beam Attachment


328 Threaded Steel Side Beam Attachment
Details
Resources
CAD
Features
- Fastens to wall or the side of a joist to support hanger rod
- Pre-threaded
- Conforms with Federal Specification WW-H-171 (Type 35), Manufacturers Standardization Society ANSI®/MSS-SP-58 (Type 34)
Specifications
Finish | Plain |
Material | Steel |
Brochure
Certifications
cUL VFXT7.EX2452
English
ULC/ORD-C203
cUL VFXT7.EX2452
ULC/ORD-C203
UL VFXT.EX2452
English
ANSI/UL 203
UL VFXT.EX2452
ANSI/UL 203
- Warning
- nVent products shall be installed and used only as indicated in nVent's product instruction sheets and training materials. Instruction sheets are available at www.nvent.com and from your nVent customer service representative. Improper installation, misuse, misapplication or other failure to completely follow nVent's instructions and warnings may cause product malfunction, property damage, serious bodily injury and death and/or void your warranty.