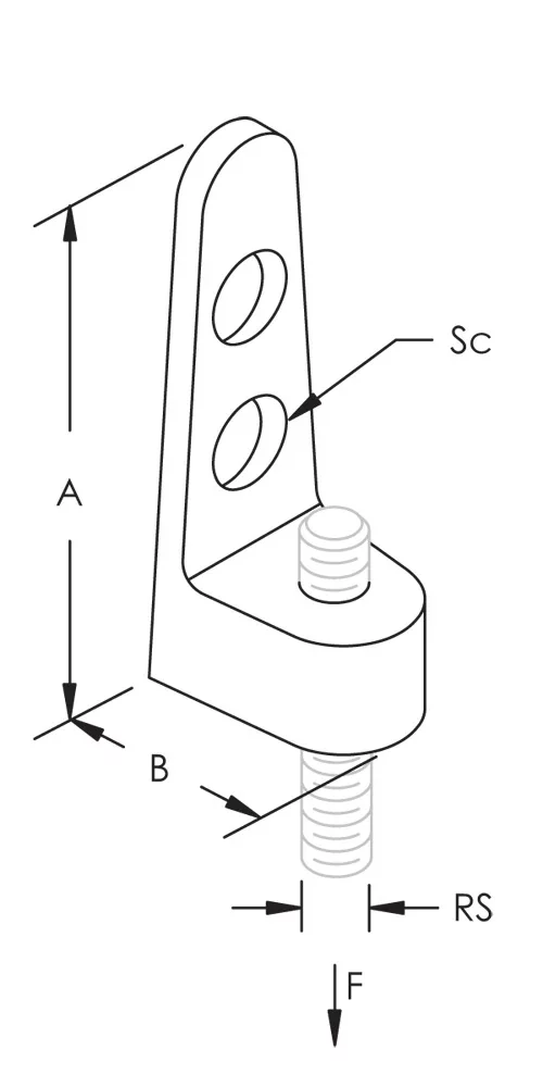
327 Malleable Iron Side Beam Attachment


327 Malleable Iron Side Beam Attachment
Details
Resources
Related Products
Features
- Pre-threaded structural attachment fastened to wall or the side of a joist to support hanger rod where two #43 Wood Drive Screws are necessary for proper support
Specifications
Material | Steel |
Brochure
- Warning
- nVent products shall be installed and used only as indicated in nVent's product instruction sheets and training materials. Instruction sheets are available at www.nvent.com and from your nVent customer service representative. Improper installation, misuse, misapplication or other failure to completely follow nVent's instructions and warnings may cause product malfunction, property damage, serious bodily injury and death and/or void your warranty.