Conjunto telescópico de arriostramiento sísmico lateral


Conjunto telescópico de arriostramiento sísmico lateral
Detalles
Imágenes de la aplicación
Recursos
CAD
Características
- El conjunto completo y listo para usar es compatible con tuberías de acero (IPS) y CPVC
- El elemento de arriostramiento telescópico evita tener que cortar la tubería, minimizando la merma y permite que la instalación sea realizada por una sola persona
- La función "presione para instalar" del nVent CADDY Rod Lock permite que el perno en V se instale rápidamente, y elimina el riesgo de comprimir el tubo de CPVC
- El elemento de arriostramiento telescópico evita tener que cortar la tubería, minimizando la merma y permite que la instalación sea realizada por una sola persona
- El revestimiento electrogalvanizado en todo el conjunto proporciona una resistencia superior a la corrosión y elimina el riesgo de exponer la tubería de CPVC a aceites o residuos dañinos
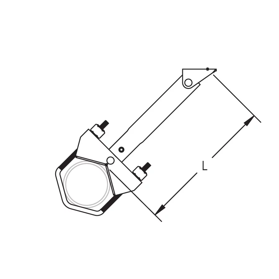
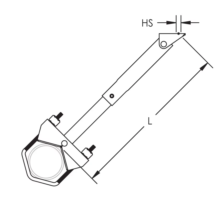
- La longitud del arriostramiento telescópico lateral se fija a través de un tornillo auto-roscante
- El diseño permite una concentración de esfuerzos en el eje central de la tubería de servicio
- Cumple los requerimientos de NFPA® 13
- Se probó según la especificación de FM®
- Certificado químicamente compatible con sistemas de tuberías de CPVC
- Apto para las instalaciones realizadas según CEN/TS 17551:2021
Especificaciones
Acabado | Electrogalvanizado |
Material | Acero |
Distancia vertical desde la estructura hasta la línea central de la tubería según el ángulo del arriostramiento a 45 ° | ||||
N.º de pieza | Diámetro del tubo | |||
1" | 2" | 3" | 4" | |
CSBT1 | 25.4 cm - 33 cm | 25.4 cm - 33 cm | 28 cm - 35.6 cm | 28 cm - 35.6 cm |
CSBT2 | 30.5 cm - 56 cm | 30.5 cm - 58.4 cm | 33 cm - 58.4 cm | 33 cm - 61 cm |
UL Lateral Loads (Listed for Sway Braces) | ||||||
Part Number | Nominal Pipe Size | Sch 10/Sch 40 Service Pipe | Bull Moose Eddy-Flow Service Pipe | Wheatland Mega-Flow Service Pipe | Youngstown Tube Fire-Flo Service Pipe | CPVC Pipe |
CSBT1 CSBT2 |
1" | 3025 N | N/A | N/A | N/A | 3025 N |
1-1/4" | 3025 N | 3025 N | 3025 N | N/A | 3025 N | |
1-1/2" | 3025 N | 3025 N | 3025 N | 3025 N | 3025 N | |
2" | 3025 N | 3025 N | 3025 N | 3025 N | 3025 N | |
2-1/2" | 3025 N | 3025 N | 3025 N | 3025 N | 3025 N | |
3" | 3025 N | 3025 N | 3025 N | 3025 N | 3025 N | |
4" | 3025 N | 3025 N | 3025 N | 3025 N | 3025 N |
Manual de instalación/Hoja de instrucciones
Certificaciones
FM Approved, CSBT CSBT_COC
English
FM 1950-2013
cUL VGMY7.EX3956
English
ULC/ORD-C203A
cUL VGMY7.EX3956
ULC/ORD-C203A
UL VGMY.EX3956
English
UL 203A
UL VGMY.EX3956
UL 203A
FM Specific. Tested CSBT
English
ANSI/FM 1950
FM Specific. Tested CSBT
English
FM 1950
- Advertencia
- Los productos nVent deben instalarse y usarse solo como se indica en las hojas de instrucciones y materiales de capacitación del producto nVent. Instruction sheets are available at www.nvent.com and from your nVent customer service representative. La instalación incorrecta, el mal uso, la aplicación incorrecta u otras fallas en el seguimiento completo de las instrucciones y advertencias de nVent pueden causar el mal funcionamiento del producto, daños a la propiedad, lesiones corporales graves y la muerte y/o anular la garantía.