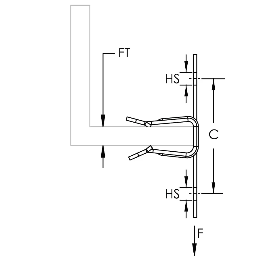
Hammer-On Flange Clip, Two Hole Side Mount


Hammer-On Flange Clip, Two Hole Side Mount
Details
Application images
Resources
- Warning
- nVent products shall be installed and used only as indicated in nVent's product instruction sheets and training materials. Instruction sheets are available at www.nvent.com and from your nVent customer service representative. Improper installation, misuse, misapplication or other failure to completely follow nVent's instructions and warnings may cause product malfunction, property damage, serious bodily injury and death and/or void your warranty.