Cable Tie Holder with Inverted Flange Clip


Cable Tie Holder with Inverted Flange Clip
Details
Application images
Resources
Video
Related Products
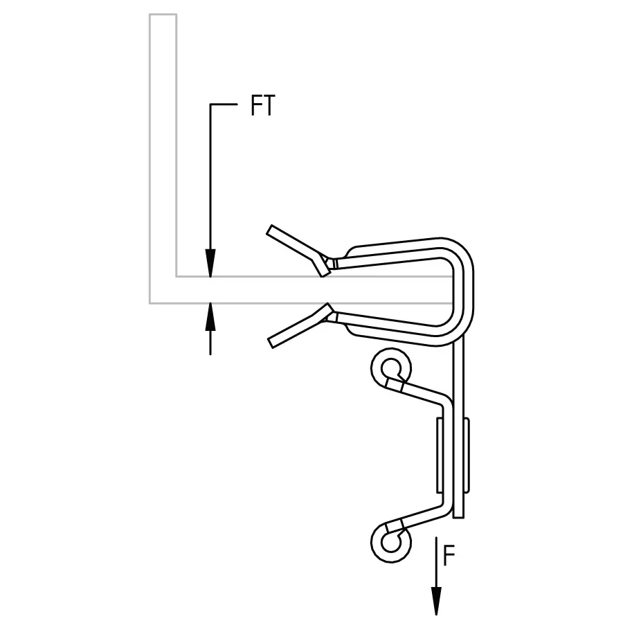
Features
- Used to support cables from beam flanges
- Requires only a hammer to install
- Installed at the inside of the beam to avoid accidental rip-off
Specifications
Finish | nVent CADDY Armour |
Material | Spring Steel |
Brochure

- Warning
- nVent products shall be installed and used only as indicated in nVent's product instruction sheets and training materials. Instruction sheets are available at www.nvent.com and from your nVent customer service representative. Improper installation, misuse, misapplication or other failure to completely follow nVent's instructions and warnings may cause product malfunction, property damage, serious bodily injury and death and/or void your warranty.