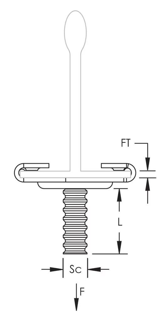
4G24 Twist Clip with Stud


4G24 Twist Clip with Stud
Details
Application images
Resources
CAD
Video
Features
- Supports electrical fixtures from acoustical T-grid
- No tools required for installation
- Fast, easy and secure twist-on installation
- Designed to reduce scratching of T-grid
- Nut sold separately
Specifications
Material | Spring Steel;Steel |
Certifications

- Warning
- nVent products shall be installed and used only as indicated in nVent's product instruction sheets and training materials. Instruction sheets are available at www.nvent.com and from your nVent customer service representative. Improper installation, misuse, misapplication or other failure to completely follow nVent's instructions and warnings may cause product malfunction, property damage, serious bodily injury and death and/or void your warranty.