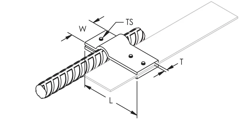
Tape to Rebar Clamp
      
                                      Details
          
          
        
        
                        
              
        
  
  
      
  
        
                  
   
  
      
    
              
              
        
      
    
              
            
                    
      
          
          
  
  
        
  
    
            
        
        
      
    
    
      
      
    
    
  
  
      
      
    
              
  
        
                                                                          Resources
          
          
        
        
                        
            
        
  
    
               
 
          
  
      
    
  
        
                                                                                                                                                                  
Features
- Mechanical connector for use in grounding systems using galvanized tapes inside reinforced concrete foundations
Specifications
| Finish | Electrogalvanized | 
| Material | Steel | 
Brochure
- Warning
- nVent products shall be installed and used only as indicated in nVent's product instruction sheets and training materials. Instruction sheets are available at www.nvent.com and from your nVent customer service representative. Improper installation, misuse, misapplication or other failure to completely follow nVent's instructions and warnings may cause product malfunction, property damage, serious bodily injury and death and/or void your warranty.
 
        
        