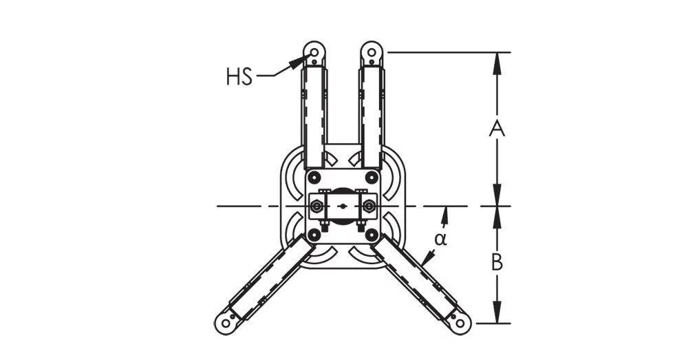
ISOnV Adjustable Offset Mast Bracket


ISOnV Adjustable Offset Mast Bracket
Details
Resources
Features
- Telescoping mast support for mounting under roof overhang
- Adjustable mounting legs for level mast installation
Specifications
Brochure
- Warning
- nVent products shall be installed and used only as indicated in nVent's product instruction sheets and training materials. Instruction sheets are available at www.nvent.com and from your nVent customer service representative. Improper installation, misuse, misapplication or other failure to completely follow nVent's instructions and warnings may cause product malfunction, property damage, serious bodily injury and death and/or void your warranty.