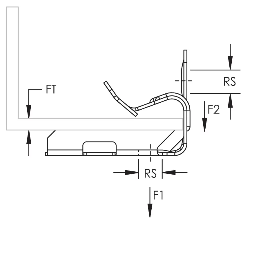
Hammer-On Flange Clip, Bottom Mount


Hammer-On Flange Clip, Bottom Mount
Details
Application images
Resources
Video
Features
- Can be used to support boxes, fixtures or other applications from beam flanges
- Assorted attachment points provided to reduce inventory
- Requires only a hammer to install
Specifications
Finish | nVent CADDY Armour |
Material | Spring Steel |
Brochure
Data Sheet
Installation Manual / Instruction Sheet
Test Report
Certifications
cUL DWMU7.E165703
CAN/CSA C22.2 No. 18.4-04
UL DWMU.E165703
ANSI/UL 2239
CE, 4H, EM, EBC
English
EN 13964


- Warning
- nVent products shall be installed and used only as indicated in nVent's product instruction sheets and training materials. Instruction sheets are available at www.nvent.com and from your nVent customer service representative. Improper installation, misuse, misapplication or other failure to completely follow nVent's instructions and warnings may cause product malfunction, property damage, serious bodily injury and death and/or void your warranty.