BC-MA Rod to Beam Clamp


BC-MA Rod to Beam Clamp
Details
Application images
Resources
Video
Features
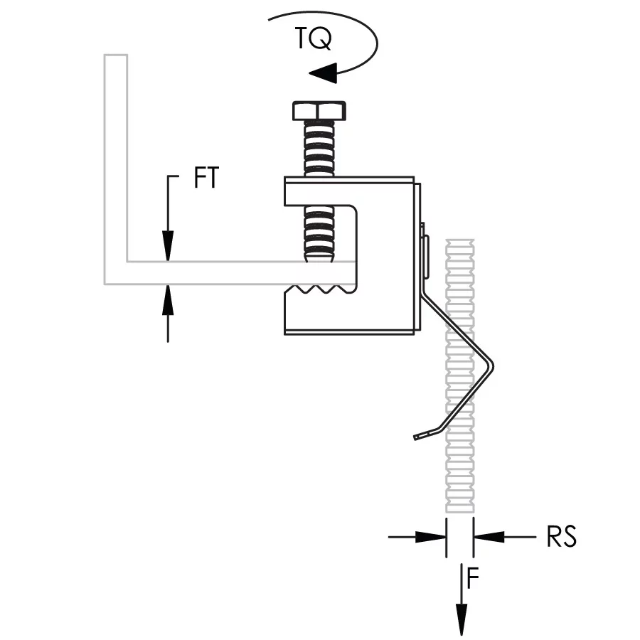
- Attaches rod to beam flange
- Uses EBC as attachment to beam
Specifications
Brochure

- Warning
- nVent products shall be installed and used only as indicated in nVent's product instruction sheets and training materials. Instruction sheets are available at www.nvent.com and from your nVent customer service representative. Improper installation, misuse, misapplication or other failure to completely follow nVent's instructions and warnings may cause product malfunction, property damage, serious bodily injury and death and/or void your warranty.