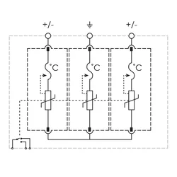
PVT2 Photovoltaic Surge Protection Class II, 1,100 V Max Continuous Operating Voltage (Ucpv)
Hover to magnify image or click to enlarge
PVT2 Photovoltaic Surge Protection Class II, 1,100 V Max Continuous Operating Voltage (Ucpv)
Catalog#: PVT21000R
Details
Application images
Resources
CAD
Additional Product Details
Features
- Suited for use at the DC input of distributed string inverters in solar arrays
- Thermal protection included to ensure safe failure modes
- Compact, yet high surge rated pluggable design, using minimum DIN rail width
Specifications
PRODUCT ATTRIBUTES
Brochure
Installation Manual / Instruction Sheet
Certifications
cUR VZCA8.E325047
CSA C22.2 No. 269.4
UR VZCA2.E325047
ANSI/UL 1449
CE, ERICO PVT
English
DIN EN 50539-11 (VDE 0675-39-11):2013-12 + A1:2015-09; EN 50539-11:2013-03 + A1:2014
Bulletin Number
- Warning
- nVent products shall be installed and used only as indicated in nVent's product instruction sheets and training materials. Instruction sheets are available at www.nvent.com and from your nVent customer service representative. Improper installation, misuse, misapplication or other failure to completely follow nVent's instructions and warnings may cause product malfunction, property damage, serious bodily injury and death and/or void your warranty.