Skip to main content

Please Select Your Country/Language Preferences

PH5524.jpg image Hover to magnify image or click to enlarge

Heavy Duty Strut Beam Clamp

Need technical support or a quote? We're here to help.
Contact Us Where to Buy
Details

Features

Specifications

Data Copied
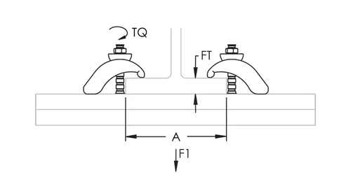
Metric   |   Imperial
Strut Type A Static Load 1 F1 Static Load 2 F2
CC 200 mm 4000 N 1100 N
300 mm 3000 N 750 N
400 mm 2250 N 550 N
500 mm 1800 N 450 N
600 mm 1500 N 350 N
AA 200 mm 7000 N 3250 N
300 mm 7000 N 2250 N
400 mm 7000 N 1750 N
500 mm 5500 N 1400 N
600 mm 4500 N 1150 N

Diagrams

Application images Resources Related Products
Warning
nVent products shall be installed and used only as indicated in nVent's product instruction sheets and training materials. Instruction sheets are available at www.nvent.com and from your nVent customer service representative. Improper installation, misuse, misapplication or other failure to completely follow nVent's instructions and warnings may cause product malfunction, property damage, serious bodily injury and death and/or void your warranty.
Need technical support or a quote? We're here to help.
Contact Us Where to Buy