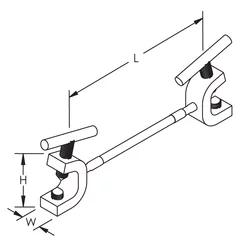
Rail Base Track Circuit Single Shunt, T-Handle
Hover to magnify image or click to enlarge
Rail Base Track Circuit Single Shunt, T-Handle
Details
Application images
Resources
Video
Features
- Easy-to-carry assembly that can be used on most common rail types
- Two shunt assemblies are available: “Hard" zero ohm or 0.06 ohm
- No resistor to fail: Product is pre-engineered to provide permanent 0.06 ohm shunting
- Tested to assure reliability of 0.06 ohm shunt
- Black or bright orange insulation available on “Hard" shunt for high visibility and easy identification
- Cable welded to terminal clamp
- Hardened contact points on clamps bite through rust and scale
- Unique design assures positive contact and firm grip
- T-shaped handle allows quick and easy tightening by hand
Specifications
| Material | Cadmium Bronze;Steel;Polyvinylchloride |
Brochure

- Warning
- nVent products shall be installed and used only as indicated in nVent's product instruction sheets and training materials. Instruction sheets are available at www.nvent.com and from your nVent customer service representative. Improper installation, misuse, misapplication or other failure to completely follow nVent's instructions and warnings may cause product malfunction, property damage, serious bodily injury and death and/or void your warranty.