Skip to main content
Please Select Your Country/Language Preferences

PH35995.jpg image Hover to magnify image or click to enlarge

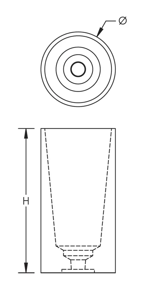
Pouring Basin Crucible

The pouring basin crucible is placed between the pouring basin and the crucible extension. The crucible is made from heat-resistant graphite and retains the filler material while the exothermic reaction occurs.

Read more Read less Print This Page
Need technical support or a quote? We're here to help.
Contact Us Where to Buy
Details

Features

Specifications

Material Graphite
Data Copied
Metric   |   Imperial

Diagrams

Resources
Warning
nVent products shall be installed and used only as indicated in nVent's product instruction sheets and training materials. Instruction sheets are available at www.nvent.com and from your nVent customer service representative. Improper installation, misuse, misapplication or other failure to completely follow nVent's instructions and warnings may cause product malfunction, property damage, serious bodily injury and death and/or void your warranty.
Need technical support or a quote? We're here to help.
Contact Us Where to Buy