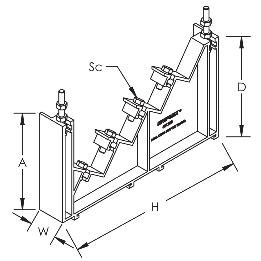
BS-400A Four Pole Insulating Support
Hover to magnify image or click to enlarge
BS-400A Four Pole Insulating Support
Details
Resources
CAD
Related Products
Features
- Create custom four pole distribution blocks for an electrical distribution system
- Protection screen can be attached directly to the support
- Includes screws to mount threaded copper busbars
- Easily clips onto DIN rail or mounts to panel with screws
- Halogen free
- RoHS compliant
Specifications
Certifications
IEC 61439-1 EN Busbar Supports
English
IEC 61439-1 (2017)
IEC 61439-1 FR Busbar Supports
English
IEC 61439-1 (2017)
- Warning
- nVent products shall be installed and used only as indicated in nVent's product instruction sheets and training materials. Instruction sheets are available at www.nvent.com and from your nVent customer service representative. Improper installation, misuse, misapplication or other failure to completely follow nVent's instructions and warnings may cause product malfunction, property damage, serious bodily injury and death and/or void your warranty.