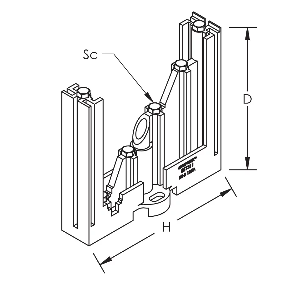
BS-125A Four Pole Insulating Support
 Hover to magnify image or click to enlarge
        
        Hover to magnify image or click to enlarge
       
        BS-125A Four Pole Insulating Support
                                      Details
          
          
        
        
                        
              
        
  
  
      
  
        
                  
   
  
      
    
              
              
        
      
    
              
            
                    
  
  
        
  
    
            
        
        
      
    
    
      
      
    
    
  
  
      
      
    
              
            
        
      
    
              
  
        
                                                                          Resources
          
          
        
        
                        
            
        
  
    
               
  
    
                    
  
  
      
      
  
    
      
    
    
      
  
      
  
              
  
  
  
              
  
  
      
      
  
    
      
    
    
      
  
      
  
              
  
  
  
                
      
 
          
  
      
    
  
        
                                            CAD
          
          
        
        
                        
            
          
  
      
    
  
        
                                                                                                        Related Products
          
          
        
        
                        
            
        
  
  
  
      
    
  
        
                                          Features
- Create custom four pole distribution blocks for an electrical distribution system
- Protection screen can be attached directly to the support
- Includes screws to mount threaded copper busbars
- Clips on to DIN rail using DR-CLIP or mounts with screws
- Halogen free
- RoHS compliant
Specifications
Certifications
        IEC 61439-1 EN Busbar Supports
      
      
              
          English
        
      
          
      IEC 61439-1 (2017)
    
      
        IEC 61439-1 FR Busbar Supports
      
      
              
          English
        
      
          
      IEC 61439-1 (2017)
    
      - Warning
- nVent products shall be installed and used only as indicated in nVent's product instruction sheets and training materials. Instruction sheets are available at www.nvent.com and from your nVent customer service representative. Improper installation, misuse, misapplication or other failure to completely follow nVent's instructions and warnings may cause product malfunction, property damage, serious bodily injury and death and/or void your warranty.
 
                 
                 
             
  