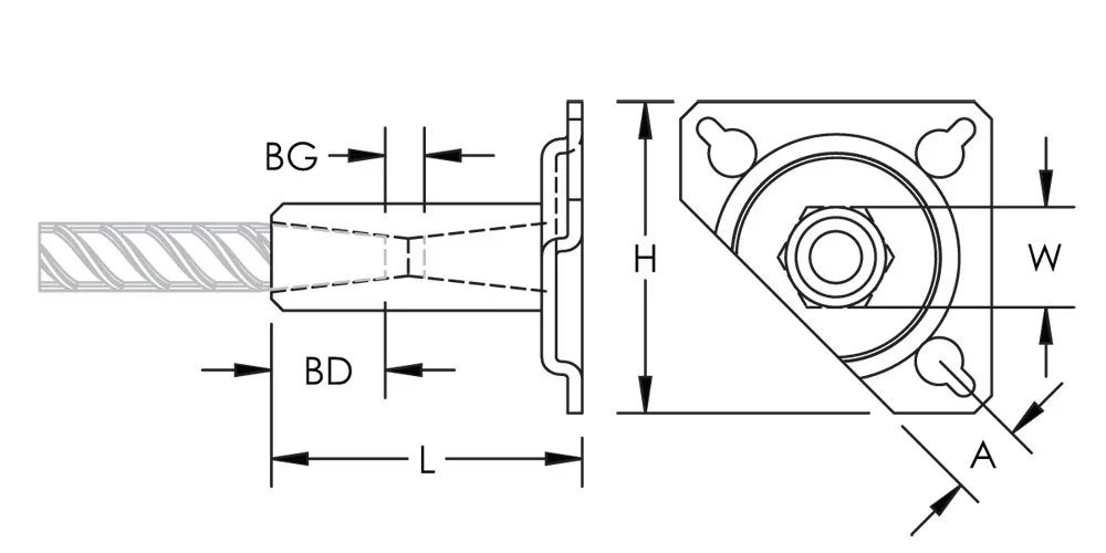
SA Coupler with Mounting Plate, Clipped Flange, Plain


SA Coupler with Mounting Plate, Clipped Flange, Plain
Couplers with clipped flange mounting plates address concrete cover concerns.
Details
Resources
CAD
Features
- Designed to splice the same diameter bars where the second bar can be rotated and is not restricted in its axial direction
- Durable mounting plates allow for easy attachment to forms
- Built-in thread cover or screw-in plug protects internal threads from concrete paste contamination
Specifications
Finish | Plain |
Material | Steel |
100% U.S. Domestic Content | Yes |
Designed to Meet | AASHTO;ABNT NBR 8548:1984;ACI 318 Type 1 (125% Specified Yield);ACI 318 Type 2 (Specified Tensile);ACI 349;ACI 359;AS3600 |
Installation Manual / Instruction Sheet
Technical Handbook
- Warning
- nVent products shall be installed and used only as indicated in nVent's product instruction sheets and training materials. Instruction sheets are available at www.nvent.com and from your nVent customer service representative. Improper installation, misuse, misapplication or other failure to completely follow nVent's instructions and warnings may cause product malfunction, property damage, serious bodily injury and death and/or void your warranty.