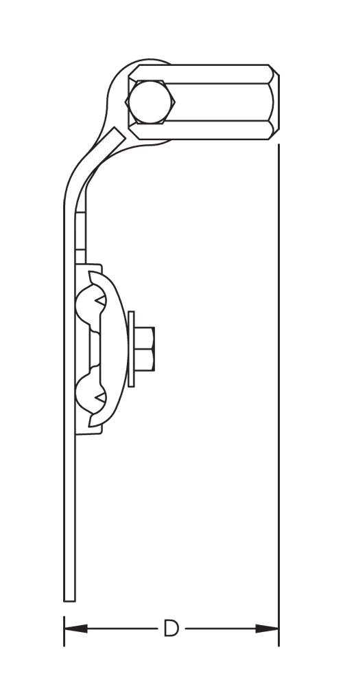
Air Terminal Base, Sloped Roof, Imperial Thread
 Hover to magnify image or click to enlarge
        
        Hover to magnify image or click to enlarge
       
        Air Terminal Base, Sloped Roof, Imperial Thread
                                      Details
          
          
        
        
                        
              
        
  
  
      
  
        
                  
   
  
      
    
              
              
        
      
    
              
            
                    
      
          
          
  
  
        
  
    
            
        
        
      
    
    
      
      
    
    
  
  
      
      
    
              
  
        
                                                                          Resources
          
          
        
        
                        
            
        
  
    
               
  
    
                    
  
  
      
      
  
    
      
    
    
      
  
      
  
              
  
  
      
      
  
    
      
    
    
      
  
      
  
                
      
 
          
  
      
    
  
        
                                                                                                                                                                  
Features
- For use on ridged roof, sloping or flat surfaces
- Positive single bolt tension for multi-directional cable clamping
Specifications
| Conductor Size, UL | Class 1 - Class 2 (4/0 Max) | 
Brochure
Certifications
        E202878-Combined_CoC OVTK.E202878
      
      
              
          English
        
      
          
      ANSI/UL 96
    
      
        E202878-Combined_CoC OVTK7.E202878
      
      
              
          English
        
      
          
      ANSI/CAN/UL 96
    
      - Warning
- nVent products shall be installed and used only as indicated in nVent's product instruction sheets and training materials. Instruction sheets are available at www.nvent.com and from your nVent customer service representative. Improper installation, misuse, misapplication or other failure to completely follow nVent's instructions and warnings may cause product malfunction, property damage, serious bodily injury and death and/or void your warranty.
 
                 
                 
            