Skip to main content
Please Select Your Country/Language Preferences

PH36732.jpg image Hover to magnify image or click to enlarge

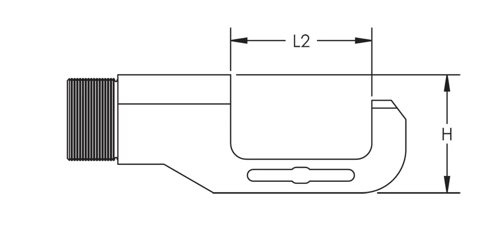
Yoke

Made of high-strength materials, the yoke is designed to handle a tremendous amount of force during the installation of the pins into the couplers.

Read more Read less Print This Page
Need technical support or a quote? We're here to help.
Contact Us Where to Buy
Details

Features

Specifications

Data Copied
Metric   |   Imperial

Diagrams

Application images Resources
Warning
nVent products shall be installed and used only as indicated in nVent's product instruction sheets and training materials. Instruction sheets are available at www.nvent.com and from your nVent customer service representative. Improper installation, misuse, misapplication or other failure to completely follow nVent's instructions and warnings may cause product malfunction, property damage, serious bodily injury and death and/or void your warranty.
Need technical support or a quote? We're here to help.
Contact Us Where to Buy