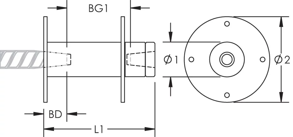
P8 Position Coupler with Two Form Saving Plates
Hover to magnify image or click to enlarge
P8 Position Coupler with Two Form Saving Plates
Used in segmental pour applications. The addition of two form saving plates allow the female end of the coupler to be used in keyway applications where the coupler is attached to formwork at both ends. Permanent form saving plates allow easy attachment to the forms, eliminating costly damage to the forms.
Details
Application images
Resources
Features
- Designed to splice the same diameter bars
- Designed to splice two curved, bent or straight bars, when one bar can be rotated and where the ongoing bar is NOT free to move in its axial direction
- Adjustability in the female end of the coupler allows the coupler to extend out to meet the taper-threaded reinforcing bar
Specifications
| Finish | Plain |
| Material | Steel |
| 100% U.S. Domestic Content | Yes |
| Designed to Meet | AASHTO;ABNT NBR 8548:1984;ACI 318 Type 1 (125% Specified Yield);ACI 318 Type 2 (Specified Tensile);ACI 349;ACI 359;AS3600 |
Brochure
Installation Manual / Instruction Sheet
Technical Handbook
- Warning
- nVent products shall be installed and used only as indicated in nVent's product instruction sheets and training materials. Instruction sheets are available at www.nvent.com and from your nVent customer service representative. Improper installation, misuse, misapplication or other failure to completely follow nVent's instructions and warnings may cause product malfunction, property damage, serious bodily injury and death and/or void your warranty.