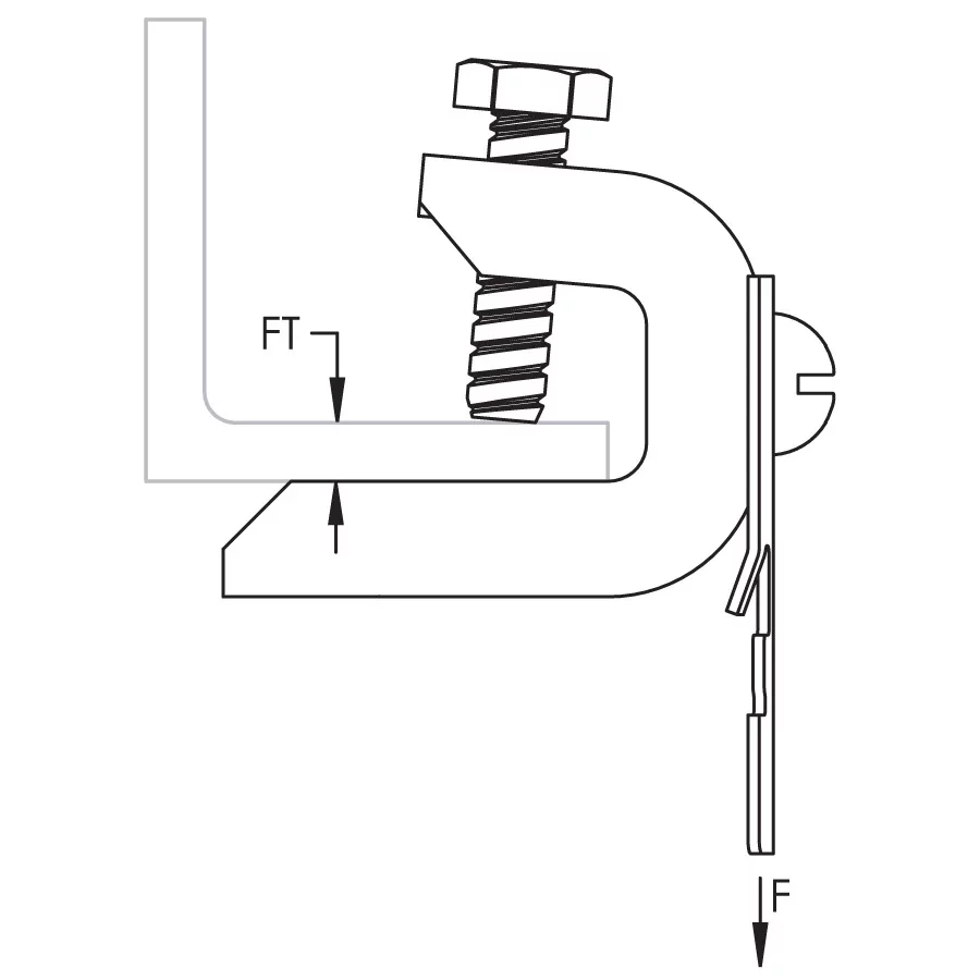
nVent CADDY Cat HP J-Hook Clip to BC200 Beam Clamp


nVent CADDY Cat HP J-Hook Clip to BC200 Beam Clamp
Thanks for your submission. A customer service agent will be in touch soon to help you further.
Details
Application images
Resources
CAD
Video
Features
- Easy installation to beam flanges
- Requires no screws, rivets or special tools for assembly
- J-Hooks feature bendable locking tabs that lock on to nVent CADDY Cat HP components to provide rigidity and stability
- Link to J-Hooks in one of multiple color options to aid in pathway identification and organization
- Customized J-Hook trees can be easily assembled with various J-Hook sizes, colors and configurations
- nVent CADDY Cat HP components easily attach to any size nVent CADDY Cat HP J-Hook
Specifications
Engineering Specification
Certifications
cUL DWMU7.E165703
CAN/CSA C22.2 No. 18.4-04
UL DWMU.E165703
ANSI/UL 2239


- Warning
- nVent products shall be installed and used only as indicated in nVent's product instruction sheets and training materials. Instruction sheets are available at www.nvent.com and from your nVent customer service representative. Improper installation, misuse, misapplication or other failure to completely follow nVent's instructions and warnings may cause product malfunction, property damage, serious bodily injury and death and/or void your warranty.