T-Series Horizontal Installation Equipment


T-Series Horizontal Installation Equipment
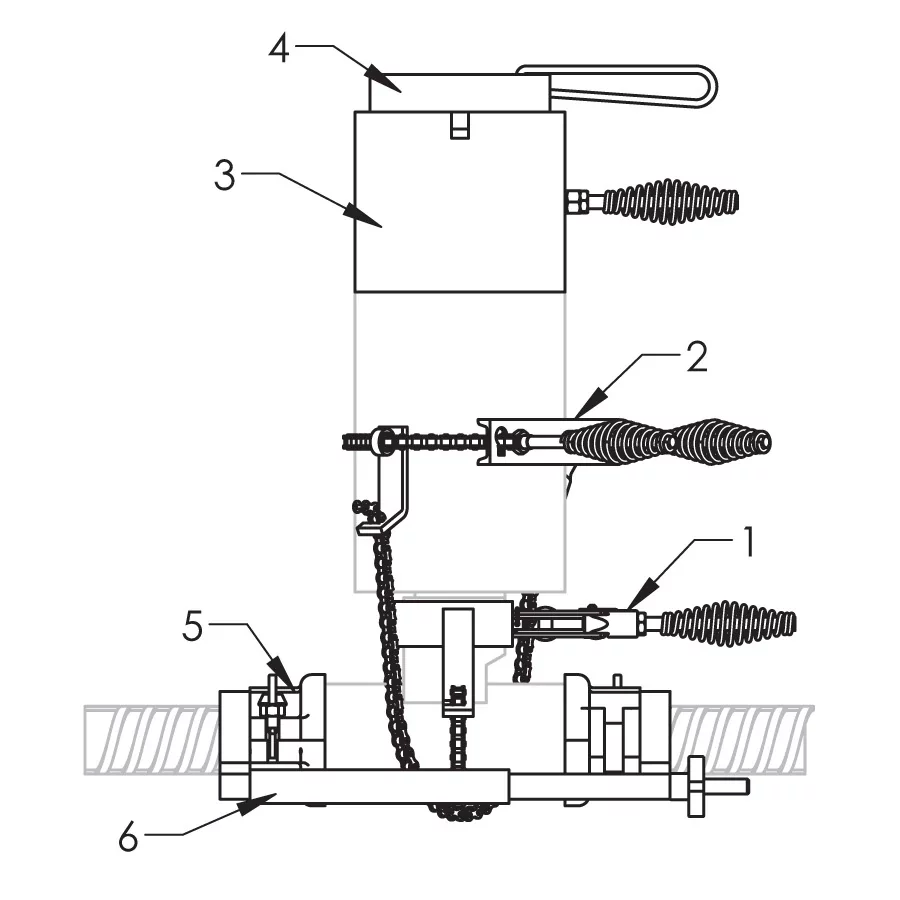
T-Series horizontal installation equipment kits contain the following: Pouring basin frame, crucible frame set (crucible chain assembly, crucible extension, crucible cover), two end alignment fittings and a horizontal packing clamp. Installation equipment kits contain components that are long lasting and often interchangeable with other sizes. Ordering installation equipment kits simplifies ordering, reduces order errors and helps ensure proper sizing of components.
Details
Application images
Resources
Features
- Simplifies ordering
- Used to splice the same diameter bars
- All components are designed for an extended life
Specifications
Material | Steel;Graphite |
- Warning
- nVent products shall be installed and used only as indicated in nVent's product instruction sheets and training materials. Instruction sheets are available at www.nvent.com and from your nVent customer service representative. Improper installation, misuse, misapplication or other failure to completely follow nVent's instructions and warnings may cause product malfunction, property damage, serious bodily injury and death and/or void your warranty.