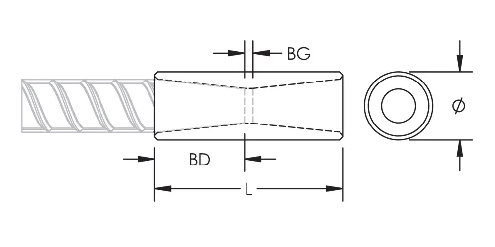
A12 Standard Coupler, Modified


A12 Standard Coupler, Modified
This coupler is modified to specifically meet the requirements of the Sellafield Engineering Standard ES_0_3110, CARES Appendix TA1-C, Class B and CARES Appendix TA1-C, Class A (when combined with nVent LENTON Plus)
Details
Resources
Related Products
Features
- Designed to splice the same diameter bars where the second bar can be rotated and is not restricted in its axial direction
- Slim design maintains concrete cover
- Installs quickly and easily
Specifications
Designed to Meet | AASHTO;ABNT NBR 8548:1984;ACI 318 Type 1 (125% Specified Yield);ACI 318 Type 2 (Specified Tensile);ACI 349;ACI 359;AS3600 |
Brochure
Installation Manual / Instruction Sheet
Technical Handbook
- Warning
- nVent products shall be installed and used only as indicated in nVent's product instruction sheets and training materials. Instruction sheets are available at www.nvent.com and from your nVent customer service representative. Improper installation, misuse, misapplication or other failure to completely follow nVent's instructions and warnings may cause product malfunction, property damage, serious bodily injury and death and/or void your warranty.