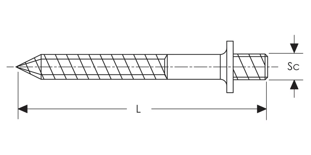
VDF C Wood-to-Metal Dowel Screw with Collar


VDF C Wood-to-Metal Dowel Screw with Collar
Details
Resources
Video
Features
- Wood dowel screw with metric thread connection with collar
Specifications
Catalog

- Warning
- nVent products shall be installed and used only as indicated in nVent's product instruction sheets and training materials. Instruction sheets are available at www.nvent.com and from your nVent customer service representative. Improper installation, misuse, misapplication or other failure to completely follow nVent's instructions and warnings may cause product malfunction, property damage, serious bodily injury and death and/or void your warranty.